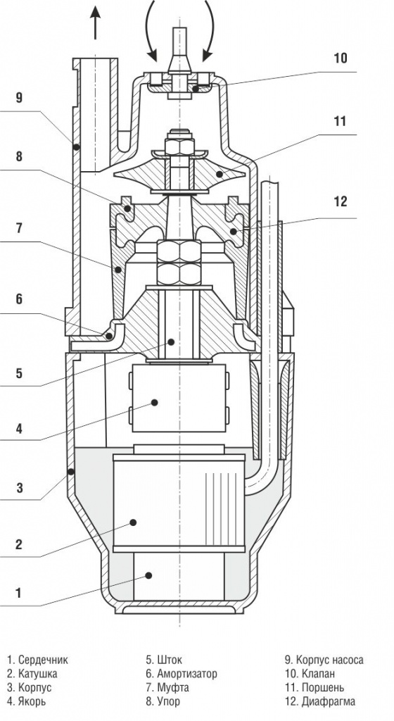
Насосы Ручеек
Бытовой вибрационный насос «Ручеёк» - это универсальное решение для дачи. Он надёжен, долговечен, а также прост в использовании: не требует смазки и заливки водой, включается в работу непосредственно после погружения его в воду.
ПРИМЕНЕНИЕ:
-
для водоснабжения;
-
для полива;
-
для откачки воды из затопленных помещений, резервуаров.
ПРЕИМУЩЕСТВА:
-
II класс защиты от поражения электрическим током (ГОСТ 27570.0-87).
-
Ударопрочный алюминиевый корпус защищает внутренние элементы от повреждений.
-
Обмотка электродвигателя с повышенным классом изоляции F (ГОСТ 8865-93) позволяет работать в продолжительном режиме без перегрева.
-
Термозащита: насос Ручеек оснащён термовыключателем с самовозвратом.
-
Всасывающее отверстие расположено в верхней части корпуса. Это обеспечивает постоянное охлаждение электромагнитной системы. Кроме того, верхний забор воды минимизирует засасывание ила со дна, а также замутнение воды.
-
В комплекте шнур питания, капроновый трос и крепёжное кольцо (хомут) для монтажа, комплект ЗИП.
Гарантия: 18 месяцев со дня продажи, но не более 24 месяцев со дня изготовления. Средний срок службы насоса: 8 лет.
Сертификат соответствия на бытовые вибрационные насосы ENERAL типа «Ручеёк»

