Термисторные реле защиты электродвигателя
НОВАЯ ОПЦИЯ В СИСТЕМЕ УПРАВЛЕНИЯ И ЗАЩИТЫ ДЛЯ ЭЛЕКТРОДВИГАТЕЛЕЙ ЭНЕРАЛ
Для защиты электродвигателя рекомендуем использовать термисторное реле ENERAL GRB-2B-220-3. Данный продукт специально разработан для применения в составе схемы управления и защиты электродвигателей, оснащенных термодатчиками.
При монтаже электродвигателя ENERAL серий АИР, АИС, АИР...Э, ВА от 160-го до 355-го габарита в комплекте с термисторным реле ENERAL GRB-2B-220-3 предоставляется дополнительный год гарантии на данный электродвигатель.
Преимущества термисторного реле:
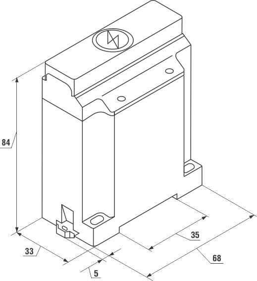
- легкая установка в шкафу управления;
- универсальное крепление (установка на DIN-рейку и крепление винтами к монтажной плате или вне шкафа управления).
Особенности термисторных реле:
- индикация режимов работы (срабатывание защиты и наличие питания);
- перекидной контакт на выходе (1NO/1NC);
- высокий номинальный ток контакта реле;
- защитная крышка клеммников (защита от соприкосновения с токоведущими частями).
На термисторное реле ENERAL GRB-2B-220-3 действует гарантия 1 год с даты ввода в эксплуатацию, но не более 2 лет с даты продажи.
| Технические характеристики | Значение |
|---|---|
| Напряжение питания переменного тока | 220В (±10%) |
| Частота | 40-60 Гц |
| Потребляемая мощность | 1ВА |
| Рабочая температура окружающей среды | -30º до +70º |
| Номинальный ток контакта реле | 6А |
| Сопротивление срабатывания | 3кОм (±10%) |
| Сопротивление возврата в рабочее состояние | 1500 – 1800 Ом |
вес – 0,2 кг
Клеммы

T1, Т2 - клемма теплового датчика
L, N - клемма питания
13 - клемма рабочего состояния
14 - общая клемма
21 - клемма замкнутого состояния
ON/OFF - световая индикация включения/выключения
Подключение
Режим работы работы при условиях:
напряжение подается на контакты L, N; датчик не перегрет; нет обрыва фазы.